Интернет-магазин не работает 31 декабря, 1, 2 и 7 января. В остальные дни работаем в обычном режиме.

Вентилятор накладной Helios MiniVent M1/100 d100

Описание Helios Minivent M1 100

 

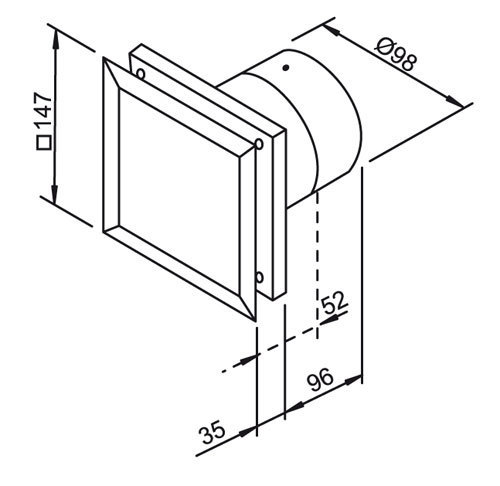
Ширина 147 мм
Высота 147 мм
Глубина 96-52 мм
Производительность, м3/ч: 75/90
Диаметр Helios MiniVent M1 100, мм: 98
Мощность, Вт: 5/9
Давление, Па: 35/47
Комплектация: обратный клапан
Цвет: Белый
Уровень шума, db: 25/30

Все вентиляторы серии MiniVent M1 имеют 2 режима мощности и серийно комплектуются плотно закрывающимся обратным клапаном.
Благодаря новой технологии UltraSilence® уровень шума работающего вентилятора остается крайне низким.
Вентилятор Helios MiniVent M1/100 разработан таким образом, что воздух проникает в устройство через отверстия по его периметру. Лицевая панель вентилятора Helios MiniVent M1 100 полностью закрыта. Конструкция лицевой панели элегантно и надежно скрывает грязное впускное отверстие вентилятора. Вентилятор Helios MiniVent M1/100 будет гармонично смотреться в любом интерьере. Гладкая лицевая панель остается всегда чистой и аккуратной.
Просторное отделение для кабеля, опоясывающее весь корпус вентилятора, возможность поворота корпуса под любым углом и без винтовые клеммы очень сильно облегчают процедуру подключения устройства.
Рассчитанные на 40 000 часов работы шариковые подшипники позволяют монтировать устройство в произвольном положении, в том числе непосредственно в потолочном перекрытии.
Съемный спрямляющий аппарат позволяет снизить монтажную глубину вентилятора с 96 до 52 мм. Монтаж вентилятора возможен без клапана обратного воздуха.

Диаметр:100
Производитель:Helios
Таймер:Нет
Цвет:Белый, Белый Матовый
Тип:Накладной
Обратный клапан:Есть
Мощность:9 Вт
Глубина посадки:96
Особенности:Двигатель на шарикоподшипниках, Бесшумная крыльчатка, Две скорости
Страна производства:Германия
Категория шума:26-30 дБ
Уровень шума:30 дБ
Объём расхода воздуха:1-100 куб. м/час
Производительность:90 куб. м/час
Напряжение:220
Гарантия:1 год
Размеры:170x160x160
Вес:0.8

Авторизуйтесь, чтобы оставить отзыв:

Похожие товары в категории Вентиляторы

Для улучшения работы мы можем собирать данные, используя cookies и сервис Яндекс.Метрика. Это соответствует политике в отношении персональных данных. Продолжая работу на сайте вы даёте согласие на обработку персональных данных. Файлы cookie можно отключить в настройках Вашего браузера.

//}
Заказ в WhatsApp